CS 3733 Operating Systems Notes: Virtual Memory Examples
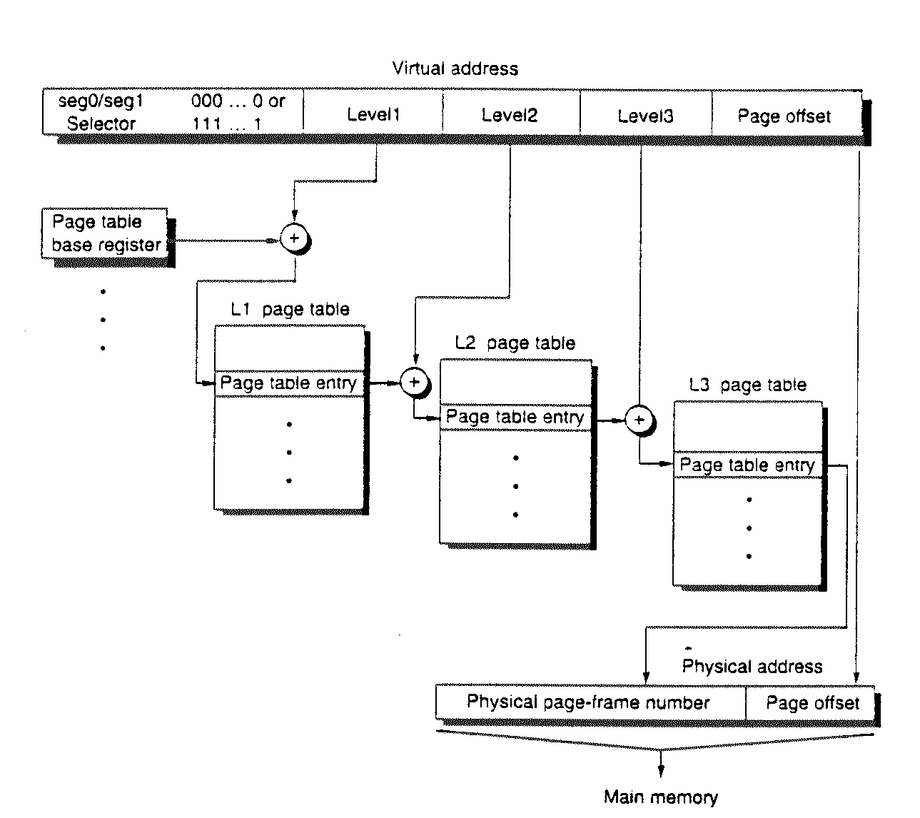
Alpha AXP model 21064